File:XO-1 pixel.gif
Jump to navigation
Jump to search
XO-1_pixel.gif (763 × 595 pixels, file size: 39 KB, MIME type: image/gif)
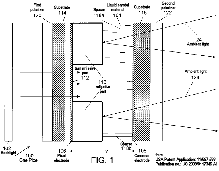
An XO-1 display pixel both reflects ambient light and transmits backlight (possibly colored) based on the liquid crystal materials state of "twist". The "twist" is set by the voltage between the pixel and common electrodes. Annotated figure 1 from USA Patent Application 11/897,588, Publication number US 2008/0117346 A1, Filing date: Aug 31, 2007
| File:PD-icon.svg | This file has been released into the public domain by its copyright holder, its copyright has expired, or it is ineligible for copyright. This applies worldwide. |
File history
Click on a date/time to view the file as it appeared at that time.
| Date/Time | Thumbnail | Dimensions | User | Comment | |
|---|---|---|---|---|---|
| current | 16:41, 19 November 2008 | Error creating thumbnail: Unable to save thumbnail to destination | 763 × 595 (39 KB) | Imported>Mwarren | An XO-1 display pixel both reflects ambient light ''and'' transmits backlight (possibly colored) based on the liquid crystal materials state of "twist". The "twist" is set by the voltage between the pixel and common electrodes. Annotated figure 1 from USA |
You cannot overwrite this file.
File usage
The following page uses this file: